バーチカルブラインド 取り付け方

すっきりとした縦ラインが魅力のバーチカルブラインド。

取り付け方法には「カーテンレール取り付け金具を使って取り付ける方法」、窓枠や窓枠外の壁に取り付ける「正面付け」、部屋の天井や窓枠の内側に取り付ける「天井付け」の3種類があります。

それぞれのバーチカルブラインドの取り付け方法と特徴をわかりやすく解説します。
バーチカルブラインドが長い場合のヘッドレールの取り付けは、2人以上で作業するようにしましょう。

バーチカルブライド取り付けに必要な道具

ドライバーアイコン

ドライバー

ブラケットを固定する基本の工具。シャフトの長い磁石付プラスドライバーがベスト。

インパクトドライバーアイコン

インパクトドライバー

作業時間を短縮できる、ネジ締めに便利な電動工具。

きりアイコン

キリまたはドリル

窓枠に直接ブラケットを取り付ける方に。木の割れを防ぐために下穴を開ける工具です。

曲げ尺アイコン

曲げ尺やメジャー

取り付け位置や取り付け高さを正確に決めるために必要となります。大きめの三角定規でも可。

すべての取り付け方に共通
ブラケットの位置

ブラケットが2個の場合

ブラケットの取り付け位置はバーチカルブラインドのヘッドレールの端部から4〜6cm内側に取り付けます。

バーチカルブライン 取り付け方法 ブラケット取り付け位置

ブラケットが3個以上の場合

ブラケットが3個以上使用する場合のブラケットの取り付け位置は、端部から4〜6cm内側に取り付けたブラケットを基準に間に等間隔になるように取り付けます。

バーチカルブライン 取り付け方法 ブラケット取り付け位置

賃貸の方におすすめ !
カーテンレール取り付け金具を
使用した取り付け方法

バーチカルブラインド 取り付け方法 カーテンレール取り付け金具で取り付ける

取り付けに使用する付属品

バーチカルブラインド カーテンレール取り付け金具

カーテンレール
取り付け金具

バーチカルブラインド 天井付けワンタッチブラケット

天井付け
ワンタッチブラケット

カーテンレールに取り付ける場合は、付属の「カーテンレール取り付け金具」と「天井付けワンタッチブラケット」を使用します。
穴を開けずに設置できるため、賃貸住宅でも安心してお使いいただける取り付け方法です。

また、カーテンボックスがある場合は、内寸の幅が約12cm以上あればルーバーが干渉せず、スムーズに開閉できます。

カーテンレール取り付け金具の部位名

バーチカルブライン 取り付け方法 カーテンレール取り付け金具イメージ

バーチカルブラインドの
取り付け方

バーチカルブラインド 取り付け方法 カーテンレール取り付け金具で取り付ける

カーテンレール取り付け金具を取り付ける

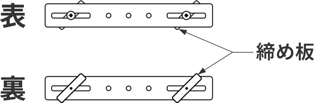
付属のカーテンレール取り付け金具の締め板を止めているネジを緩めます。
締め板をカーテンレールの溝に入れ、ネジで止めます。
カーテンレール取り付け金具はなるべく平行になるように取り付けてください。

バーチカルブライン サイズの測り方 カーテンレール取り付け金具 平行

カーテンレール取り付け金具は平行に取り付けましょう。

バーチカルブライン サイズの測り方 カーテンレール取り付け金具 レール幅が狭い場合

レールとレールの間が狭い場合でも、カーテンレール取り付け金具を斜めにすると取り付けが可能です。

カーテンレールのレール溝が狭い場合

バーチカルブライン 取り付け方法 ブラケット取り付け位置

カーテンレールの溝が狭く、カーテンレール取り付け金具の締め板が入らない場合は、カーテンレールのキャップを外して横から入れてください。

バーチカルブラインド 取り付け方法 カーテンレール取り付け金具にブラケット

ブラケットを取り付ける

カーテンレール取り付け金具に、付属のネジ1つを使い天井付けワンタッチブラケットを取り付けます。
天井付けワンタッチブラケットは透明の解除ボタンが前になるように取り付けてください。

バーチカルブライン 取り付け方法 ブラケット向き

透明の解除ボタンが手前に来るように取り付けます。

バーチカルブラインド 取り付け方法 バーチカルブラインド取り付け

ヘッドレールを取り付ける

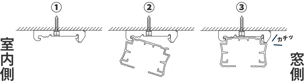
天井付けワンタッチブラケットの手前にあるツメに、バーチカルブラインドのヘッドレール手前上部にある溝を引っ掛けます。
引っ掛けたまま奥に向かって「カチッ」と音がするまで押し上げれば取り付け完成です。

バーチカルブラインド ヘッドレール
取り付け方3ステップ断面図
バーチカルブライン 取り付け方法 天井付け取り付け3ステップ
バーチカルブラインド 取り付け方法 操作バトンを取り付ける

操作バトンを取り付ける

指定した操作位置にあるリング部分に、操作バトンのフックを引っ掛けてください。

取り付け高さ401cm以上では、操作バトンはジョイント仕様となります。グリップの付いていないバトンをヘッドレール側へ取り付けた後、グリップの付いたバトンを引っ掛けてジョイントしてください。

天井付けの取り付け方法

バーチカルブラインド 取り付け方法 天井付けイメージ

取り付けに使用する付属品

バーチカルブラインド 天井付けワンタッチブラケット

天井付け
ワンタッチブラケット

天井付けには付属の「天井付けワンタッチブラケット」を使用し、窓枠内の上部や部屋の天井にネジを上向きに直接取り付けていきます。

天井付けの取り付け方

バーチカルブラインド 取り付け方法 ブラケット天井付け

天井付けワンタッチブラケットを取り付ける

付属の取り付けネジ1つを使い、天井付けワンタッチブラケットを取り付けます。
透明の解除ボタンが前にくるように取り付けてください。
天井付けワンタッチブラケットは平行になるように取り付けてください。

バーチカルブライン 取り付け方法 天井付け ブラケット向き

透明の解除ボタンが前にくるように取り付けます。

バーチカルブライン 取り付け方法 天井付け 平行

ブラケットは平行になるように取り付けましょう。

バーチカルブラインド 取り付け方法 天井付け ブラケットにひっかける

ヘッドレールを取り付ける

天井付けワンタッチブラケットの手前にあるツメに、バーチカルブラインドのヘッドレール手前上部にある溝を引っ掛けます。
引っ掛けたまま奥に向かって「カチッ」と音がするまで押し上げれば取り付け完成です。

バーチカルブラインド ヘッドレール
取り付け方3ステップ断面図
バーチカルブライン 取り付け方法 天井付け取り付け3ステップ
バーチカルブラインド 取り付け方法 操作バトンを取り付ける

操作バトンを取り付ける

指定した操作位置にあるリング部分に、操作バトンのフックを引っ掛けてください。

取り付け高さ401cm以上では、操作バトンはジョイント仕様となります。グリップの付いていないバトンをヘッドレール側へ取り付けた後、グリップの付いたバトンを引っ掛けてジョイントしてください。

正面付けの取り付け方法

バーチカルブライン 取り付け方法 正面付けイメージ

取り付けに使用する付属品

正面付けL金具

正面付けL金具

バーチカルブラインド 天井付けワンタッチブラケット

天井付け
ワンタッチブラケット

正面付けには付属の「正面付けL金具」と「天井付けワンタッチブラケット」を組み合わせて、窓枠や壁にネジを横向きにで取り付けます。

正面付けの取り付け方

バーチカルブラインド 取り付け方法 正面付け L字金具とブラケット

正面付け用のブラケットを作る

「正面付けL金具」に「天井付けワンタッチブラケット」をネジで固定します。

バーチカルブライン 取り付け方法 天井付け L字金具の穴の位置

「正面付けL金具」の穴によってブラケットの位置を調整できます。

バーチカルブライン 取り付け方法 天井付け ブラケット向き

透明の解除ボタンが手前に来るように取り付けます。

バーチカルブラインド 取り付け方法 正面付け ブラケット工程

組み合わせたブラケットを固定する

正面付けはブラケット1つにつき3つのネジを使用します。
ブラケットは平行になるように取り付けてください。

バーチカルブラインド 取り付け方法 正面付け

ヘッドレールを取り付ける

天井付けワンタッチブラケットの手前にあるツメに、バーチカルブラインドのヘッドレール手前上部にある溝を引っ掛けます。
引っ掛けたまま奥に向かって「カチッ」と音がするまで押し上げれば取り付け完成です。

バーチカルブラインド ヘッドレール
取り付け方3ステップ断面図
バーチカルブライン 取り付け方法 正面付け取り付け3ステップ
バーチカルブラインド 取り付け方法 操作バトンを取り付ける

操作バトンを取り付ける

指定した操作位置にあるリング部分に、操作バトンのフックを引っ掛けてください。

取り付け高さ401cm以上では、操作バトンはジョイント仕様となります。グリップの付いていないバトンをヘッドレール側へ取り付けた後、グリップの付いたバトンを引っ掛けてジョイントしてください。

ルーバーの取り付け方

バーチカルブラインド ルーバーの取り付け方法 ランナーフックを寄せる

ランナーフックを寄せる

ランナーフックを片開きの場合は片側に、両開きの場合は両側に寄せます。

バーチカルブラインド ルーバーの取り付け方法 ランナーフックの角度を直角に調整

ランナーフックの角度を直角に調整

操作バトンを回して、ランナーフックがヘッドレールに対して直角になるようにします。

ランナーフックが直角の状態でルーバーの取り付けを行わないとルーバーが正常に回転しない場合があります。

ルーバーの角度が不揃いの場合は、一度バーチカルブラインドを全閉状態にし、操作バトンを回転させると正常な位置に戻ります。

手でランナーフックの角度調整を行わないでください。破損する可能性があります。

バーチカルブラインド ルーバーの取り付け方法 ルーバーの取り付け

ルーバーを取り付ける

ルーバーの表裏を一定方向に揃え、ランナーフックの下からハンガー部分を下から差し込み、「カチッ」と音がするまで押し上げれば取り付け完成です。

防炎タグがついているルーバーは端に取り付けてください。

バーチカルブライン 取り付け方法 ルーバーの取り付け 表裏

折り返している側が裏面です。

ボトムコードの取り付け方

バーチカルブラインド ボトムコードの取り付け方法 ルーバーの角度

ルーバーの角度を調整し、ボトムコードを取り付ける

操作バトンを回転させ、ルーバーをヘッドレールに対して直角になるようにします。
各ウェイトカバーの両側にボトムコードのコネクトを横から差し込んでください。

取り付けは必ず一番端のウェイトカバー、およびボトムコードから始めてください。

ボトムコードがねじれないように注意してください。

バーチカルブラインド ボトムコードの取り付け方法 余ったボトムコードをカット

余ったボトムコードをカット

ボトムコードがすべて付いていることを確認したら、両端の余ったコードを切ってください。

ヘッドレールの取り外し方

バーチカルブラインド 外し方

解除ボタンを押す

ブラケットの解除ボタンを押しながら、ヘッドレールを手前に引いてください。

ブラケットが複数ある場合は、同時に解除ボタンを押すようにしてください。

解除ボタンが硬い場合は一旦戻し、まっすぐな状態で再度押すとスムーズに押すことが可能です。

バーチカルブラインド 外し方

仮止めフックから外す

本体を仮止めフックから外します。